Хэндхелд Project Q от Sony находится в стадии разработки с 2015 года.
Прошлая патентная заявка показывает, что "Project Q" компании Sony находился на стадии прототипирования с 2015 года. Патент на устройство был подан в 2015 году и опубликован в 2017 году.
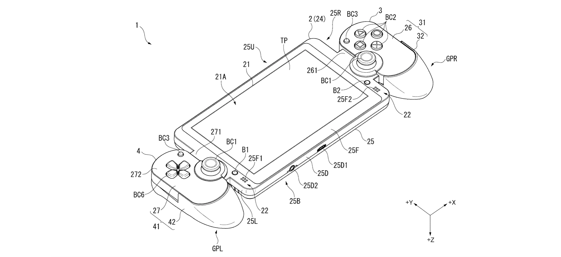
Судя по всему, в расположении кнопок произошли небольшие изменения по сравнению с дизайном 2015 года, хотя разъем для наушников и разъем для кабеля зарядки расположены внизу. Учитывая, что оригинальный патент был подан в 2015 году, на схеме изображен порт MicroUSB. Окончательная версия Project Q будет поставляться с портом MiniUSB.
Компания Sony Interactive Entertainment представила Project Q, портативный игровой аксессуар, разработанный специально для PS5, 24 мая 2023 года во время выставки PlayStation Showcase. Устройство должно появиться на полках магазинов в конце 2023 года.

